您当前的位置:首页 > 路浩资讯 > 路浩视点
机械领域专利撰写中易忽略的细节探讨

静1.jpg

机械领域的发明人在技术交底书撰写,以及代理师在申请文件的撰写过程中通常着眼于比较明显的技术特征,例如零部件之间配合关系和作用等。但是对于一些细节设计,例如倒角、凹槽、间距等,发明人作为本领域的专家可能认为这些细节设计与其声称要解决的技术问题关系不大而不会对这些细节设计做过多的介绍,或者因为这些细节设计都太小而主观认为不会对专利申请的创造性作出贡献。而代理师通常会忽视或者会将其作为常规技术手段进行处理,很少去探究这些细节设计背后的原因,以及这些细节能带来某些技术效果的原因。但是在一些机械类专利中,特别是一些结构比较简单的机械类专利中,这些细节设计往往是决定专利是否能够授权的关键。


下面以两个案例为例,进行具体说明:

案例一

申请号200520033409.X,授权公告号CN27*****Y

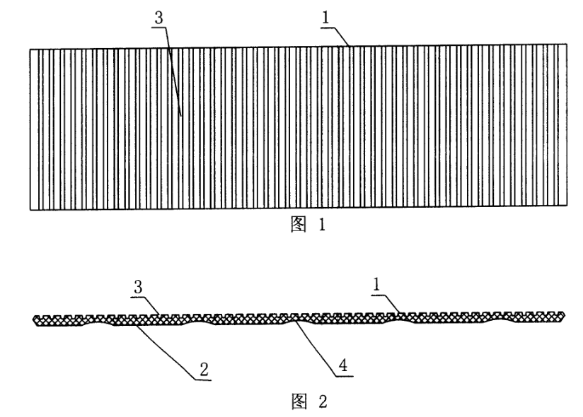
1.png

授权权利要求书

1、铁道混凝土弹性轨枕枕下用橡胶垫板,其特征在于,垫板分顶面(1)和底面(2),垫板顶面(1)分布有平行纵向沟槽(3),底面(2)分布有圆弧形凹槽(4)。

2、根据权利要求1所述的铁道混凝土弹性轨枕枕下用橡胶垫板,其特征在于,平行纵向沟槽(3)深4-8mm,平行纵向沟槽(3)之间的距离为10-20mm,垫板的四周倒角100-150℃。

3、根据权利要求1所述的铁道混凝土弹性轨枕枕下用橡胶垫板,其特征在于,所述圆弧形凹槽(4)之间的距离为120-180mm。

4、根据权利要求1所述的铁道混凝土弹性轨枕枕下用橡胶垫板,其特征在于,垫板厚度为12-25mm。

无效请求人与专利权人的争议焦点集中在权3是否具有创造性。

无效请求人陈述的部分观点:无效证据1中没有进一步限定圆弧形凹槽之间的间距为120-180mm,现有技术给出了垫板要达到的弹性要求,在无效证据3的基础上,本领域技术人员很容易得到启示将垫板下表面圆弧形凹槽间距设置为120-180mm。

专利权人的部分观点:涉案专利设置了较大的槽间距。较大的槽间距可以增强槽边对不规则道渣锋利棱边及尖角破坏的抵抗力、限制道渣的流动性来增强碎石道床的稳定性,最终通过垫板底面的形状构成与垫板弹性的结合保证了在机车高速时碎石道床的稳定性和受力均匀性(申请文件中没有记载此段文字),从而减缓冲击,保护轨枕,减少道渣分化,降低轨道维修费用,延长维修周期(申请文件原始记载)。

专利权人在陈述意见时,从作用机理上具体分析了“较大的槽间距”到底是如何实现“减缓冲击,保护轨枕,减少道渣分化,降低轨道维修费用,延长维修周期”的详细论述,证明涉案专利的“较大的槽间距”并不是常规技术手段,这一点论述也得到合议组的认可。

在案例一中,因为专利权人剖析了“较大槽间距”能够带来“减缓冲击,保护轨枕,减少道渣分化,降低轨道维修费用,延长维修周期”这一效果的原因,所以得到合议组的认可。

从案例一反思,机械领域的代理师在面临细节设计应该注意哪些问题。首先,不能忽视这些细节设计,也不能在未与发明人确认的前提下就主观的断定这些细节设计属于常规技术手段。而是要通过向发明人提问的方式来引导发明人思考这些细节设计所要解决的技术问题,取得的技术效果,以及能够起到这些技术效果的原因。其次,代理师需要将发明人补充的细节设计带来的技术效果,以及起到这些技术效果的原因全部记载在申请文件中。这些内容对后期答复OA,复审和无效阶段都能起到至关重要的作用。


案例二

申请号202011383585.1,授权公告号CN 114*****2 B

一种挥发装置,其特征在于,包括:

壳体,具有空腔,所述壳体上形成有与所述空腔连通的出气口;

变色件,固定于所述壳体;所述变色件的一侧暴露于所述空腔,所述变色件的另一侧可视于所述壳体的外壁,所述变色件根据所述空腔内目标气体的浓度变色;

其中,所述空腔用于容纳待储物品,所述目标气体为待储物品释放的气体,所述目标气体为二氧化氯气体;所述变色件为明胶。

审查意见认为“在对比文件2已经公开了一种根据颜色变化来判断二氧化氯是否耗尽的技术方案,且其在对比文件2所起的作用与其在本发明相同,均可用于观察产品是否用尽”的前提下,本申请的技术方案(变色件根据二氧化氯气体的浓度变色)是显而易见的。

答复时,在具体分析了对比文件2的显色机理与本申请的显色机理后,发现对比文件2的显色机理与本申请的显色机理不同,从这一点来进行答辩,得到审查员的认可而被授权。

具体的分析如下:

经过分析可知,对比文件2中的显色组分可以为甲基橙、百里酚蓝、甲基红、中性红、酚酞、甲基黄中一种或几种,而甲基橙、百里酚蓝、甲基红等一般是用作酸碱指示剂。同时结合二氧化氯气体的制备原理5ClO2-+4H+→4ClO2+2H2O+Cl-可知,对比文件2中的显色组分的显色机理是显色组分本身的某些功能基在受到有机化合物和无机离子的刺激时,使显色组分的化学结构发生改变,进而产生不同的变色结果。而本申请中的明胶中存在类似三维网状结构,其能够对二氧化氯气体进行吸附和释放,而明胶中显示出的颜色为不同浓度下的二氧化氯气体的颜色,本申请明胶并不与二氧化氯气体进行化学反应,而是进行物理吸附。显然,对比文件2中的显色原理与本申请也完全不同。

在案例二中,因为代理师从本申请与对比文件2的变色原理上进行分析比较,得出本申请与对比文件2的变色原理不同,所以得到审查员的认可。若代理师没有想到从“变色原理”这个角度来答复审查意见,大概率案例二会被驳回。

从案例二反思,当机械领域的代理师在面临涉及非结构带来的技术效果时,针对这些非结构类带来的技术效果,首先,请教发明人以引导发明人思考带来此技术效果的原因,但是在实务中大多数情况下,机械领域的发明人无法给出较为科学的解释;其次,代理师需要通过跨领域查资料确定带来此技术效果的原因,或者通过请教相应领域的代理师,例如案例二可以请教材料化学领域的代理师,并将带来此技术效果的原因记载在申请文件中。


综上所述,机械领域的代理师在面临发明人的细节设计时,不仅需要考虑这些细节设计所带来的技术效果,而且还要考虑产生此技术效果的原因。机械领域的代理师在面临非结构类带来的技术效果时,需要搞清楚产生这些技术效果的原因。同时需要将这些技术效果,以及产生此技术效果的原因全部记载在申请文件中。申请文件中记载的这些原因对后期答复OA,复审和无效阶段都能起到至关重要的作用。


·END·


北京路浩知识产权集团有限公司

电话:010-62196988

网址:www.cnkip.com

·

静态.png

分享到微博

×
打开微信“扫一扫”,打开网页后点击屏幕右上角分享按钮